Towards sparse matrix operations: graph database approach for power grid computation
2023-03-22
【论文推荐】中国电力科学研究院王晓辉等:一种基于原生图数据库的电力图计算方法
摘要
新型电力系统的建设对电力物联网技术提出了更高的要求。新型电力系统的“源-网-荷-储”架构要求电力物联网具有更强的多源异构数据融合能力。原生图数据库在处理多源异构数据方面具有很大的优势,适合于越来越多的分析计算任务。然而,现有的图数据库产品中,只有少数产品具有与矩阵运算相关的接口或功能的原生支持,导致电网中常见的矩阵计算处理效率低下。本文采用图描述的策略来表示矩阵的计算过程,该策略依赖于矩阵与图的结构之间的自然联系。在此基础上,实现了对图数据库的矩阵运算,包括矩阵乘法、矩阵分解等。具体而言,该算法只关注与计算相关的节点及其相邻节点,与传统的矩阵计算相比,消除了矩阵中零元素的影响,避免了无用的迭代。基于图描述,可以在图数据库上实现电网的一系列计算,在充分发挥图数据库并行计算能力的同时,减少了冗余的数据导入导出操作。提高了电力物联网处理多源异构数据的效率。通过对两种不同规模电力系统数据集的综合实验研究,将所提出的方法与Python和MATLAB基线进行了比较。结果表明,我们提出的方法在潮流和计算N-1中都具有优异的性能。
Towards sparse matrix operations: graph database approach for power grid computation
一种基于原生图数据库的电力图计算方法
Daoxing Li1, Kai Xiao1, Xiaohui Wang1, Pengtian Guo1, Yong Chen1
1. China Electric Power Research Institute Co. Ltd., Beijing 100192, P. R. China
收听作者1分钟语音介绍
Abstract
Keywords
Graph database, Graph description, Matrix, Parallel computing, Power flow.

Fig.1 Correspondence between matrix and graph: (a) 5×5 square matrix, where 。denotes the zero element; (b) the corresponding graph

Fig.2 Transformation on non-square matrix: (a) matrix with unequal row and column dimensions; (b) the graph description of the matrix in (a)

Fig.3 The parts of the two graphs involved for cepq: (a) the outgoing edges of p in G(A); (b) the incoming edges of q in G(B)

Fig.4 Process of matrix multiplication example

Fig.5 Amendment for vertices

Fig.6 Running time of matrix multiplication

Fig.7 Running time of matrix decomposition

Fig.8 Running time of matrix decomposition

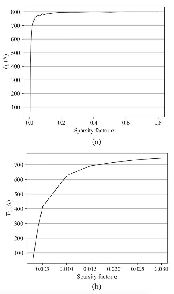
Fig.9 Effect of the sparsity factor on TL(A)

Fig.10 Comparison of power flow computation
本文引文信息
Li DX, Xiao K, Wang XH, et al (2023) Towards sparse matrix operations: graph database approach for power grid computation. Global Energy Interconnection, 1(5): 50-63
李道兴,肖凯, 王晓辉等 (2023) 一种基于原生图数据库的电力图计算方法. 全球能源互联网(英文), 1(5): 50-63
Biographies

Daoxing Li
Daoxing Li received his master’s degree at North China Electric Power University, Beijing, in 2021. He is working in China Electric Power Research Institute Co., Ltd. His research interests include artificial intelligence and graph computing.


Kai Xiao
Kai Xiao received his master’s degree at North China Electric Power University, Baoding, in 2013. He is working in China Electric Power Research Institute Co., Ltd. His research interests include power big data technology, graph computing and marketing business.


Xiaohui Wang
Xiaohui Wang received the Doctor’s degree from North China Electric Power University, Beijing, 2012.He is currently working at the China Electric Power Research Institute Co., Ltd. Beijing. His research interests include power big data technology, artificial intelligence, active distributed network, energy internet.


Pengtian Guo
Pengtian Guo received his master’s degree at North China Electric Power University, Beijing, in 2020. He is working in China Electric Power Research Institute Co., Ltd. His research interests include power Internet of things and artificial intelligence.


Yong Chen
Yong Chen received the Doctor’s degree from Huazhong University of Science and Technology, Wuhan. He is working in China Electric Power Research Institute Co., Ltd. His research interests include high performance computing, artificial intelligence.
编辑:刘通明
审核:王 伟
郑重声明
根据国家版权局相关规定,纸媒、网站、微博、微信公众号转载、摘编本网站作品,需包含本网站名称、二维码等关键信息,并在文首注明《全球能源互联网》原创。 个人请按本网站原文转发、分享。
                

